定期的に清掃をして綺麗に使用していただけると、機器は長持ち致します。
各機器の注意点等を記載しましたのでご参考になさってください。
※火を消して10分以上経過してから作業を行ってください。
苛性ソーダなどの薬品は決して使わないでください。
①日々の揚げ作業が終わりましたら排油バルブ部にプラスチックバケツがセットされている事を確認後、排油作業を行ってください。
(火を消してすぐ排油作業をされますと空焚き状態となりシンク破損の原因となります。シンクが割れてしまった場合、修理不可となりますのでお気を付けください。)
空焚きは絶対にしないでください!!
②油が抜けましたらシンク内に残っている揚げカスをブラシ・布巾等で綺麗に取り除いてください。
※この際シンク端にありますセンサー(針金みたいなもの)を折り曲げたり動かしたりしないでください。温度誤差・サーモ故障の原因となります。


センサー部分(左EA 右EBD)
③槽内にお湯を入れて中性洗剤で洗ってください。
※遠赤バイオヒーターを金属製のタワシ等で擦らないでください。漏電の原因となります。
槽内の清掃後は水気をしっかり拭き取ってください。
※槽内に水が残っていると油跳ねをして、大変危険です。
表面温度が十分に冷めてからお手入れを始めてください。使用後すぐに水を掛けると割れてしまいます。
前面ガラス・サイドエプロン
サイドエプロンは上に持ち上げ、前面ガラスは上に持ち上げた後、手前に引き出して取り外し、やわらかいスポンジ等で中性洗剤を使い洗ってください。

サイドエプロン

前面ガラス
水皿
本体より水皿を少し引き出して排水バルブを開いて排水してください。
その後、中性洗剤等で汚れを洗い流した後乾いた布で水気をとって下さい。
※ご使用時は水皿に約3cm程水を入れてご使用ください。
また、水に油が多く溜まると火が点くことが有りますので、時々確認してください。
注油
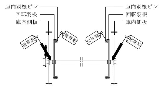
回転羽根と庫内側板の隙間に、回転軸受けがあります。
この部分に定期的に、フードグリススプレーを吹きかけてください。
グリスが切れていても故障はいたしませんが、軸受けの摩耗が早く進行してしまいます。

バーナーセラミック部分
火力調整のために一部のバーナーを点火しないでご使用になる場合、常時その状態を続けられますと、食材の油や油煙が飛び散り、火を点けていないバーナーの【セラミック部分】が目詰まりを起こします。まだ新しいにも関わらず着火しにくくなる場合がありますので、時々、又は使用後に短く空燃焼させてください。

庫内清掃
油が庫内に溜まった状態で使用し続けますと火災が起こる原因になりますので、庫内は毎日使用後に清掃してください。
絶対に水を掛けないでください!!
固く絞った布巾等で拭いて頂くか、メラミンスポンジで擦り洗いをしてください。
換気ファンフィルター清掃
油煙の目詰まりを起こして、ダクト火災の原因になりますので、排気ダクト内の換気ファンフィルターは定期的に清掃してください。
清掃目安は1日1回~最低でも週に1回は行ってください。
※番茶など、茶渋のつきやすいお茶もあるので日々の清掃は必ず行ってください。
①お茶取り出し口と茶葉カゴは取り外して食洗器などで洗ってください。
本体のお茶取り出し口もブラシ等でこすり洗いしてください。
②タンク内のお茶を抜いてください。
③ガスの元栓を閉めて(ガス式の場合)、本体の電源を切ってください。
④上蓋を開けて、茶葉投入カゴを外してください。
フックで2箇所引っかけてあります。
この際ワイヤーを引っ張らないように注意してください。故障の原因になります。
⑤本体右横の洗浄ノズル用コックを開いてください。
⑥洗浄用スプレーガンを取り、シンク内に向けてゆっくり握ってください。
(強く握ると直射、弱く握ると噴射になります。)
この時、シンク内部以外に絶対に水をかけないでください。前面のパネルなどに水がかかると動作不良、漏電する可能性があります。
⑦一度水で流して頂き、中性洗剤を付けたスポンジ等で軽くこすってからもう一度水できれいに洗剤を洗い流してください。
⑧乾拭きをして頂き清掃は完了です。
